【詳細圖文】開關電源拓撲電路工作的細節-KIA MOS管
信息來源:本站 日期:2022-09-02
講解幾種拓撲結構的工作細節
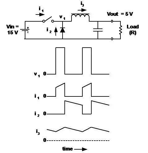
降壓調整器:
連續導電
臨界導電
不連續導電
升壓調整器 (連續導電):
變壓器工作
反激變壓器
正激變壓器
電感電流連續。
Vout 是其輸入電壓 (V1)的均值。
輸出電壓為輸入電壓乘以開關的負荷比 (D)。
接通時,電感電流從電池流出。
開關斷開時電流流過二極管。
忽略開關和電感中的損耗, D 與負載電流無關。
降壓調整器和其派生電路的特征是:
輸入電流不連續 (斬波), 輸出電流連續 (平滑)。
電感電流仍然是連續的,只是當開關再次接通時 “達到”零。
這被稱為 “臨界導電”。
輸出電壓仍等于輸入電壓乘以 D。
在這種情況下,電感中的電流在每個周期的一段時間中為零。
輸出電壓仍然 (始終)是 v1 的平均值。
輸出電壓不是輸入電壓乘以開關的負荷比 (D)。
當負載電流低于臨界值時,D 隨著負載電流而變化(而 Vout 保持不變)。
輸出電壓始終大于(或等于)輸入電壓。
輸入電流連續,輸出電流不連續(與降壓調整器相反)。
輸出電壓與負荷比(D)之間的關系不如在降壓調整器中那么簡單。在連續導電的情況下:
在本例中,Vin = 5,
Vout = 15, and D = 2/3.
Vout = 15,D = 2/3.
變壓器看作理想變壓器,它的初級(磁化)電感與初級并聯。
此處初級電感很低,用于確定峰值電流和存儲的能量。當初級開關斷開時,能量傳送到次級。
初級電感很高,因為無需存儲能量。
磁化電流 (i1) 流入 “磁化電感”,使磁芯在初級開關斷開后去磁 (電壓反向)。
聯系方式:鄒先生
聯系電話:0755-83888366-8022
手機:18123972950
QQ:2880195519
聯系地址:深圳市福田區車公廟天安數碼城天吉大廈CD座5C1
請搜微信公眾號:“KIA半導體”或掃一掃下圖“關注”官方微信公眾號
請“關注”官方微信公眾號:提供 MOS管 技術幫助
免責聲明:本網站部分文章或圖片來源其它出處,如有侵權,請聯系刪除。
