電壓檢測電路:24V低壓檢測電路分享-KIA MOS管
信息來源:本站 日期:2022-09-28
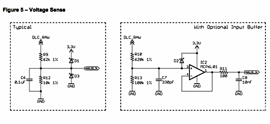
當電壓采樣速率低和要求低時,左邊電路圖即可滿足;當采樣速率和精度要求比較高時,采用右邊電路。
Vin=24V低壓檢測電路,將24V轉換到0-3V3之間,實測效果挺好的,電阻使用1%的精度。
KIA半導體專業生產MOS管場效應管廠家(國家高新技術企業)成立于2005年,公司成立初期就明確立足本土市場,研發為先導,了解客戶需求,運用創新的集成電路設計方案和國際同步研發技術,結合中國市場的特點,向市場推出了BIPOLAR,CMOS,MOSSFET等電源相關產品,產品的穩定性,高性價比,良好的服務,以及和客戶充分的技術,市場溝通的嚴謹態度,在移動數碼,LCE,HID,LED,電動車,開關電源,逆變器,節能燈等領域深得客戶認可。

工業領域:步進馬達驅動,電鉆工具,工業開關電源
新能源領域:光伏逆變,充電樁,無人機
交通領域:車載逆變器,汽車HID安定器,電動自動車
綠色照明領域:CCFL節能燈。 LED照明電源,金鹵燈鎮流器
聯系方式:鄒先生
聯系電話:0755-83888366-8022
手機:18123972950
QQ:2880195519
聯系地址:深圳市福田區車公廟天安數碼城天吉大廈CD座5C1
請搜微信公眾號:“KIA半導體”或掃一掃下圖“關注”官方微信公眾號
請“關注”官方微信公眾號:提供 MOS管 技術幫助
免責聲明:本網站部分文章或圖片來源其它出處,如有侵權,請聯系刪除。
