MOS管-襯底偏置效應圖文詳解分享-KIA MOS管
信息來源:本站 日期:2023-06-19
襯底偏置效應,就是當襯底(body/substrate)和源(source)之間的電勢差Vbs不為零的時候,所產生的一些效應的統稱。
以Bulk NMOS為例,來說一下Vbs不為零的時候會發生什么。
1、第一個襯底偏置效應,閾值電壓(Vth)會發生變化。
上圖中,Vthc_7為閾值電壓(具體來說,是用恒定電流法求得的閾值電壓,參考電流為Lg/Wg*10^-7)。Lg為柵氧化層長度,tox為柵氧化層厚度。柵氧化層寬度Wg=10um。Vds為源漏之間電壓,此處為50mV,處于線性區。
由上圖我們可以觀察到,在給襯底加上負偏壓之后,NMOSFET的閾值電壓會相應上升。這是最為重要的一個襯底偏置效應。(上圖中還可以觀測到短溝道效應和反短溝道效應,此處不展開)。關于這一襯底偏置效應的解釋,可以從能帶圖來入手。
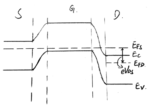
上圖是一個NMOS能帶圖。此處需要注意:能帶圖是“能量圖”,是用來表征電子的能量的圖。電子的能量等于 電子所帶電荷*電子的電勢 。因為電子帶負電,所以電勢越高,能量越低。
如果我們給襯底加上負壓,那么襯底的電子能量會變高(也就是圖中G區域會變高)。也就是說源漏之間的勢壘高度會變高。那么必然需要更大的柵極電壓才能導通源漏,也就是說,閾值電壓變高了。
2、第二個襯底偏置效應,亞閾值擺幅(subthreshold swing)會變化。
根據亞閾值擺幅的公式:
上面公式中的CD減小;S會減小。
聯系方式:鄒先生
聯系電話:0755-83888366-8022
手機:18123972950
QQ:2880195519
聯系地址:深圳市福田區金田路3037號金中環國際商務大廈2109
請搜微信公眾號:“KIA半導體”或掃一掃下圖“關注”官方微信公眾號
請“關注”官方微信公眾號:提供 MOS管 技術幫助
免責聲明:本網站部分文章或圖片來源其它出處,如有侵權,請聯系刪除。
