【技術好文】運放電路的幾個電路設計細節-KIA MOS管
信息來源:本站 日期:2022-07-28
對于我們常用的反相運算放大器,其典型電路如下:
在這種情況下,R3為平衡電阻,這樣,在可以很好的保證運放的電流補償,使正負端偏置電流相等。取值更大時,會產生更大的噪聲和飄逸。但是,應大于輸入信號源的內阻。
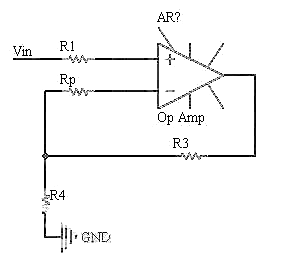
當為同相放大器的時候,其原理又是什么呢?現在我們先回顧下同相運放的設計電路:
當計算出的Rp為負值時,需要將該電阻移動到正相端,與R1串聯在輸入端。
這里額外多插入一句,同相比例運放具有高輸入阻抗,低輸出阻抗的特性,廣泛應用在前置運放電路中。
當我們閱讀一個集成運放數據手冊的時候,會發現集成運放的內部其實是一個多級的放大器,因此,不可避免的對系統引入了極點使得電路需要進行相位補償。通常采用超前補償、滯后補償和滯后-超前補償。
所謂的超前補償就是相移減小的補償,通俗的講就是使電路出現零點,在該頻率處的輸出信號比輸入信號的相位超前45°。通過計算將出現極點的頻率點人工設計出一個零點,從而使系統變得穩定。
滯后補償通常可以理解為使相移增大的補償。可以使主極點頻率降低,使放大器頻帶變窄,這樣,就可以使運放電路在有限的帶寬內只有一個極點,使運放電路變得容易調整。
第三種就是超前-滯后補償,即采用合適的方法來處理運放單元。總之,萬變不離其宗。
在平時的電子電路設計中,會由于不小心或者不注意負載的特性,而使電路變得震蕩,這時,我們就應該注意負載的特性了。
通常情況下,當負載為容性,通過估計其電容值小于2000pF時,通過在負載和運放的輸出端串聯一個小的電阻來消除震蕩。電阻R2的大小為10-300Ω之間。
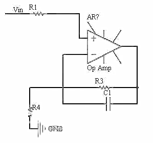
當負載較大時,我們采用如下的方案進行消除:
補償電容C2與反饋電阻R3構成超前補償網絡,形成新的零點,抵消容性負載Cl和運放輸出電阻Ro構成的新極點,從而達到消除震蕩的目的。此時的補償電容C2大小為C2=Cl(Ro+Rk)/R3 ,Rk取經驗值10-300Ω。
聯系方式:鄒先生
聯系電話:0755-83888366-8022
手機:18123972950
QQ:2880195519
聯系地址:深圳市福田區車公廟天安數碼城天吉大廈CD座5C1
請搜微信公眾號:“KIA半導體”或掃一掃下圖“關注”官方微信公眾號
請“關注”官方微信公眾號:提供 MOS管 技術幫助
免責聲明:本網站部分文章或圖片來源其它出處,如有侵權,請聯系刪除。
